帮助中心
请登录
|
快速注册
首页
技术转移
产学研合作
研发共建
产品孵化
专家对接
技术需求
技术评估
产品试产
产品测试
技术培训
技术评估
技术咨询
技术检验
研发规划
创新培训
技术攻关
专利交易
版权交易
商标交易
锐智库
最新活动
资讯
首页
技术转移
专利交易
版权交易
商标交易
锐智库
最新活动
资讯
会员中心
首页
>
搜索结果
共5777条结果
我有专利需求
我有专利成果
找专利
服务分类
全部
发明专利
实用新型专利
外观专利
所在地
不限
行业
状态
价格
综合
最新
浏览量
评价
价格
推荐
面议
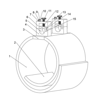
本实用新型公开了一种肾透析管简易收置定位器,包括第一固定带、第二固定带、设置在第一固定带与第二固定带之间的中间板,所述中间板的顶端设置有转动底座,所述中间板的底端贯穿有与转动底座相连接的转轴,所述转动底座的顶端开设有放置槽,所述转动底座的顶端设置有转动顶盖,所述转动底座的顶端两侧分别设置有便于转动顶盖转动的转动组件和便于对转动顶盖进行限位的限位组件,所述转动顶盖的内侧设置有橡胶垫,所述转动顶盖的顶端螺纹穿设有用于推动橡胶垫的推动螺栓,实现了对透析管的固定,同时便于转动底座的转动,防止透析管弯折。
先进材料产业
所在地:
四川省成都市
立即咨询
面议
本发明公开了一种基于循环移位的双重编码的构造方法,包括:分别在横向方向和垂直(纵向)方向进行编码,首先在横向方向上进行编码,生成横向局部校验和全局校验,保证编码的容错能力;其次在垂直方向上进行异或编码得到校验,使编码具有单节点快速修复能力。
其它行业
所在地:
四川省成都市
立即咨询
面议
本实用新型属于舾装零件加工技术领域,涉及一种舾装零件加工用切割装置,其中,包括底板,所述底板上滑动连接有支撑板,且所述支撑板的数量有两个,两个所述支撑板上均固定连接有轴承,两个所述轴承内均活动穿设有转轴,两个所述转轴的相对端固定连接有支撑架。其有益效果是,该舾装零件加工用切割装置,通过第一电机、轴承、转轴和支撑架等的设置,从而可以带着卡接件及加工件进行旋转,可以使激光切割机本体对加工件的侧面进行加工,在第二电机、齿轮、齿板、T形块和T形槽等的共同作用下,可以带着支撑板和支撑架进行前后移动,在吸气泵、收集壳、隔板和收集抽屉等的共同作用下,可以将加工产生的熔渣吸到收集抽屉内。
其它行业
所在地:
四川省成都市
立即咨询
面议
本实用新型公开了一种铁路养护工具放置绿色旋转架,涉及铁路养护技术领域,包括底板和安装有套筒的支撑轴,套筒的上表面固定安装有旋转箱,旋转箱的外壁对称开设有矩形槽,旋转箱的内部上表面固定安装有安装轴,安装轴的外壁的转动安装有电动丝杠,电动丝杠的外壁螺纹连接有内螺纹杆,内螺纹杆的上表面固定安装有托板,旋转箱的外壁的固定安装有把手。本实用新型,通过设置电动丝杠,便于对托板的伸缩,通过设置多组托板,使装置的存储量提升,通过转动把手,从而能够更加方便对工具的存取和查找,一方面能够增加装置的容量,另一方面能够直观快速的查找到对应的工具存放位置,有效地提高工作效率。
其它行业
所在地:
四川省成都市
立即咨询
面议
本实用新型公开了一种方便收放的轮船内部泳池挡盖,涉及轮船设施领域。该方便收放的轮船内部泳池挡盖,包括泳池,泳池的上方设置有盖板,泳池的一侧固定连接有固定板,固定板的上方固定连接有固定架,支撑板的上表面固定连接有电机,固定架上开设有通槽,通槽与滑槽相贯通,滑块远离盖板的一侧固定连接有连接块。该通过设置限位圈和套筒,可以限制活动轴和盖板的活动空间,防止盖板在活动的过程中松脱或者翻到,通过设置连接杆、滑杆和限位条,不仅能够使盖板左右活动或者进行翻转,而且能够限制盖板的活动空间,通过设置传动带可以控制滑块的运动范围,解决了轮船内部泳池在日常维护的过程中防护能力不高,没有防护挡盖的问题。
先进材料产业
所在地:
四川省成都市
立即咨询
面议
本实用新型提供一种平开式旋转窗户,涉及门窗领域。该平开式旋转窗户,包括边框,所述边框的内部铰接有固定半框,固定半框和边框之间设置有旋转半框,旋转半框与固定半框转动连接,固定半框的外表面滑动连接有控制机构。该平开式旋转窗户,通过拉动把手能够使得固定半框和旋转半框进行向内平开,向上滑动限位板能够使得限位板向上移动,此时限位板不在阻挡凸块同时插接块能够从定位孔中抽出,对旋转半框进行旋转,使得旋转半框能够旋转九十度,此时松开限位板在配重块和复位弹簧的作用下,插接块再次插接到新的定位孔中,进而能够对旋转半框的状态进行固定,解决了现有技术中平开窗户占用空间的问题。
先进材料产业,食品饮料产业,其它行业
所在地:
四川省成都市
立即咨询
面议
本实用新型提供一种高铁用商务休闲座椅,涉及高铁商务座椅技术领域。该高铁用商务休闲座椅,包括座椅底座,座椅底座的上端设置有座椅主体,座椅底座的后端开设有凹槽,座椅主体的后端设置有连接块,连接块与活动板转动连接,活动板的上端开设有矩形槽,矩形槽的内部转动连接有连接轴,连接轴与支撑板固定连接。该高铁用商务休闲座椅通过复位齿轮、传动齿轮、棘轮、卡杆、压杆、复位弹簧的相互配合,在需要将支撑板来支撑手机或者平板时,使用者推动压杆后转动支撑板到一定角度后松开压杆可使得卡杆与棘轮卡合,支撑板对手机或者平板支撑,达到了在观看手机电影或者用平板开会时解放双手为出差的人们提供便利,减轻人们旅途中的疲劳感的效果。
其它行业
所在地:
四川省成都市
立即咨询
面议
本实用新型公开了一种磨盘生产用的固定装置,涉及磨盘生产领域。该磨盘生产用的固定装置,包括底板,底板的上表面固定连接有支撑架,支撑架的顶部固定连接有横架,横架的上方设置有第二转盘,第二转盘的上方设置有套筒,套筒的顶部与固定台固定连接,支撑块上开设有通孔,通孔的内部固定连接有轴承,轴承与丝杆转动连接。该磨盘生产用的固定装置,通过设置第一电机、第一转盘、传动带和第二转盘,可以使固定的台在固定磨盘之后能够转动加工,通过设置弹簧、卡槽和卡块,可以根据需要来调整松紧度,通过设置第二电机、丝杠、套筒,可以提升或者降低固定台,不需要再讲磨盘取下来操作,解决了磨盘生产过程中定位不便,移动加工不便的问题。
其它行业
所在地:
四川省成都市
立即咨询
首页
上一页
1
2
3
下一页
尾页
分类
筛选
服务分类
行业
状态
价格
全部
发明专利
实用新型专利
外观专利
能源化工产业
装备制造产业
食品饮料产业
先进材料产业
数字经济
电子信息产业
其它行业
全部
转让
授权
全部
1万以下
2-3万
3-5万
5-10万
10万以上
区域
省份
全国
四川省
山西省
云南省
广东省
湖南省
重庆市
青海省
西藏区
贵州省
陕西省
甘肃省
宁夏回族自治区
新疆维吾尔自治区
辽宁省
吉林省
黑龙江
河北省
天津市
山东省
内蒙古自治区
江苏省
安徽省
河南省
浙江省
福建省
湖北省
江西省
海南省
广西壮族自治区
北京市
上海市
台湾省
香港特别行政区
澳门特别行政区
城市
地区
价格
取消
搜索
发布专利需求
获取验证码
请选择专利类别
发明专利
实用新型专利
外观专利
请选择行业
能源化工产业
装备制造产业
食品饮料产业
先进材料产业
数字经济
电子信息产业
其它行业
提交信息
匹配成果
发布专利成果
获取验证码
请选择专利类别
发明专利
实用新型专利
外观专利
请选择行业
能源化工产业
装备制造产业
食品饮料产业
先进材料产业
数字经济
电子信息产业
其它行业
提交信息